Advertorial

Pozvánka na 2. ročník stavebného veľtrhu BigMarket na Slovensku

Na podujatí sa predstaví až 37 vystavovateľov - popredných dodávateľov stavebných materiálov a inovácií s prezentáciou...

Hotel Hirschen Spa House, Rakúsko

Novotvar v prostredí alpskej obce.

Vytvorte si kúpeľňu snov: dizajnové riešenie od značky hansgrohe

Hansgrohe - prémiová značka kúpeľňových riešení, ponúka nadčasový dizajn, technickú precíznosť a udržateľné inovácie...

Okná Internorm za minuloročné ceny + hliníkový kryt zdarma!

Využite špeciálnu akciu Internorm: okná za minuloročné ceny a hliníkový kryt úplne zadarmo. Ponuka je časovo obmedzená!

Moderné plynové technológie: Efektivita a inovácie pre 21. storočie

Sumarizácia najdôležitejších inovácií, ktoré redefinujúcich využitie tohto energetického zdroja.

Utesňovanie spodných stavieb pomocou hydro-aktívnej fólie AMPHIBIA.

AMPHIBIA 3000 GRIP 1.3 od spoločnosti ATRO predstavuje modernú hydroizolačnú technológiu, ktorá spája vysokú odolnosť,...

Dekarbonizácia individuálneho vykurovania domácností – Green Deal evolučne a nie revolučne

Ambiciózne plány EK narazili na ekonomické možnosti domácností v jednotlivých členských štátoch –...

Minimalistické dvere IDEA – technická precíznosť a čistota prevedenia

IDEA DOOR od spoločnosti JAP prináša do interiéru čistý minimalistický vzhľad vďaka bezrámovému riešeniu a precíznej...

Dom s výhľadom na údolie, Dlouhý Most (ČR)

Kontinuita riešenia od vonkajšieho obkladu až po kovania a kľučky.

Schell Vitus – osvedčené riešenie pre sprchy a umývadlá vo verejnom sektore s viac ako desaťročnou tradíciou

Nástenné nadomietkové armatúry Vitus sú mimoriadne vhodné pre rýchlu a efektívnu...

Kompozitné okná predstavujú súčasnosť a budúcnosť

Okenné profily z kompozitného materiálu RAU-FIPRO X od spoločnosti Rehau sú v porovnaní s tradičnými plastovými profilmi mnohonásobne...

Myotis - stoly 2025

Najnovší sortiment stolov pre zariadenie interiérov...

Priemyselné sklenené priečky Dorsis Digero: svetelné rozhranie pre moderné interiéry

Spojenie moderného dizajnu, funkčnosti a svetla do harmonického architektonického prvku.

Význam prirodzeného svetla pre moderné a flexibilné pracovné prostredie

Kancelárska budova Baumit v slovinskom Trzine prešla premenou na moderné a udržateľné pracovisko. Architekti kládli dôraz...

Konferencia Xella Dialóg predstaví novinky a trendy v stavebníctve

Mottom šiesteho ročníku on-line konferencie odborníkov Xella Dialóg je Efektívny návrh budov 2025+: zmeny a riešenia

Núdzové odvodnenie striech / bezpečnostný priepad / chrlič

Prehľad a sumarizácia technických požiadaviek pri núdzovom odvodnení striech v zákonoch, vyhláškach a normách.
Knižnica
Peter Marčok02.06.2024
16890+18
Núdzové odvodnenie striech / bezpečnostný priepad / chrlič

Núdzové odvodnenie sa navrhuje, aby nedochádzalo k preťaženiu a poškodeniu striech, balkónov, lodžií (ohraničených atikou) pri prívalových dažďoch. Pri vyššej intenzite zrážok, ako sú storočné dažde dochádza v krátkom čase k zvyšovaniu hladiny zrážkovej vody a k väčšiemu namáhaniu hydroizolačnej vrstvy. Zrážková voda, ktorú nedokážu strešné vpuste odviesť môže prenikať do konštrukcií, čo prináša vysoké náklady na opravu. Správne navrhnuté núdzové / bezpečnostné odvodnenie zabezpečí nezávislé a spoľahlivé riešenie v takýchto situáciách.

V prehľade sa nebudem venovať výpočtom a dimenzovaniu, za ktoré zodpovedá príslušný špecialista.

 

Zákon č. 50/1976 Zb.

o územnom plánovaní a stavebnom poriadku (stavebný zákon) - znenie účinné od 1.4.2024 do 31.3.2025

  • Nešpecifikuje
  • § 49 ods. 3 - Strechy stavieb musia zachytávať a odvádzať zrážky a zabraňovať ich vnikaniu do stavebných konštrukcií.

 

Vyhláška č. 532/2002 Z. z.

ktorou sa ustanovujú podrobnosti o všeobecných technických požiadavkách na výstavbu a o všeobecných technických požiadavkách na stavby užívané osobami s obmedzenou schopnosťou pohybu a orientácie - znenie účinné od 1.3.2020 do 31.3.2025

  • § 26 ods. 1 - Strešná konštrukcia musí chrániť stavbu pred účinkami vonkajšej klímy, zachytávať a odvádzať zrážkové vody, zabraňovať ich vnikaniu do konštrukcií a zachytávať sneh a ľad tak, aby neohrozovali chodcov a účastníkov cestnej premávky. Povrchová úprava strechy stavby musí spĺňať požiadavky na zabránenie šírenia prelietavého ohňa a ohňa po povrchu.
  • § 29 ods. 5 - Balkón a lodžia musia byť odvodnené tak, aby neznehodnocovali žiadnu inú časť stavby. Ak majú pôdorysnú plochu väčšiu ako 5 m2, musia byť odvodnené do dažďového odpadového potrubia.

 

Zákon č. 201/2022 Z. z.

o výstavbe - znenie účinné od 1.4.2025

  • Nešpecifikuje

 

STN 73 3610 a STN 73 3610/Z1

Klampiarske práce stavebné - rok vydania 1987 a 2001

  • Článok 7 - Množstvo klampiarskych výrobkov sa udáva v jednotkách:
    • a) v kusoch (ks)
      strešné okná a poklopy, horné a výtokové kolená, odskoky, odbočky, prechodové kusy, výpusty vody, objímky, žľabové čelá, kotlíky, hrdlá, háky, chrliče vody, krycie manžety, lopatkové snehové zachytávače, lemovanie stĺpikov zábradlia a stĺpikov komínových lavičiek, striešky ventilačných rúr a pod.

 

STN EN 12056-3

Gravitačné kanalizačné systémy vnútri budov. Časť 3: Odvodnenie striech. Navrhovanie a výpočet - rok vydania 2002

  • Článok 5.4.1 - Pri odvodňovaní plochých striech je nutné zohľadniť únosnosť a konštrukciu strechy.
  • Článok 5.4.2 - Akýkoľvek vtok, prepad alebo chrlič musí byť navrhnutý tak, aby nedochádzalo k spätnému vzdutiu, ktoré by prekročilo dovolené zaťaženie strechy a tak, aby žiadna voda nemohla vnikať pod strešný plášť (krytinu), napríklad v mieste spojov.
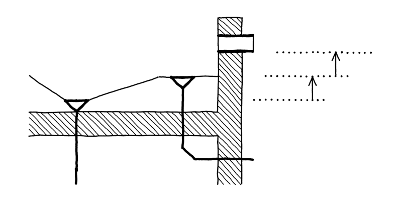
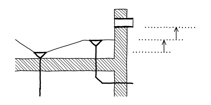
  • Článok 7.3.1 - Pre ploché strechy s atikou sa navrhujú najmenej dva vtoky strešných žľabov (alebo jeden vtok strešného žľabu a núdzový prepad) pre každú časť plochej strechy.
  • Článok 7.4 - Núdzové odvodnenie
    Núdzové vtoky alebo prepady sa majú navrhovať pre ploché strechy s atikou a pre strešné žľaby zaatikové, medzistrešné a prípadne zvláštne, aby sa zmenšilo riziko vnikania dažďovej vody do budovy alebo preťažovaniu konštrukcie.

 

STN 73 1901 a STN 73 1901/O1

Navrhovanie striech. Základné ustanovenia – rok vydania 2005

  • Článok 7.1 - Tvar striech má zabezpečiť odtok zrážkovej vody alebo prevádzkovej vody zo striech do vonkajších alebo vnútorných odpadových potrubí, alebo k strešnému odkvapu.
  • Príloha G (informatívna)
    • Článok G.21 - Pre jednu strešnú plochu s vnútorným odvodnením sa majú z hľadiska bezpečnosti navrhovať najmenej dve vnútorné odpadové potrubia. Ak sa navrhne len jedno vnútorné dažďové odpadové potrubie , odporúča sa pre strechu doplniť bezpečnostný priepad.
    • Článok G.22 - Pri plochej streche s vnútorným odvodnením, ktorá je v styku s obvodovou stenou s prečnievajúcou vertikálnou časťou (tzv. atikou), musí byť strecha doplnená bezpečnostným priepadom (staršie pomenovanie, chrličom).
    • Článok G.23 - Spodná hrana priepadu (staršie pomenovanie, chrlič) je 10 cm nad úrovňou povrchu strešnej krytiny.

 

STN 73 6760

Kanalizácia v budovách - rok vydania 2009

  • Článok 10.6 - Návrh strešných vtokov sa riadi požiadavkami STN EN 12056-3.
  • Článok 13.1 - Ak budova nemá spracovaný prevádzkový poriadok budovy, je potrebné funkčnosť kanalizačných prvkov (lapačov strešných splavenín, podlahových vpustov, strešných vtokov, armatúr proti spätnému vzdutiu) prekontrolovať najmenej 2-krat do roka, ak je to potrebné musia sa vyčistiť.

 

Na čo si dať pozor?

  • Vo všeobecnosti dodržiavanie slovenskej technickej normy alebo technickej normalizačnej informácie je dobrovoľné (§ 3 ods. 11 zákona č. 60/2018 Z. z.). ALE: Požiadavky normy sú záväzné, ak je odkaz na slovenskú technickú normu alebo technickú normalizačnú informáciu uvedený priamo v texte všeobecne záväzného právneho predpisu (zákony, nariadenia, vyhlášky, ...).
  • Uvedené požiadavky pre núdzové odvodnenie treba uplatňovať aj pri balkónoch a lodžiách ohraničených atikou bez medzier pri podlahe.
  • Po vzore revidovanej ČSN 75 6760 by spodná hrana bezpečnostného priepadu nemala byť vyššie ako:
    • vstup na strechu, balkón alebo lodžiu
    • strešné okno alebo svetlík
    • vyústenie potrubia vzduchotechniky alebo iné prestupy hydroizolácie
    • Tiež je potrebné pripomenúť aj nízko položené fotovoltaické panely a ich elektroinštaláciu.
  • Malé dimenzie chrličov alebo bočné vtoky cez atiku trpia na zamŕzanie alebo rýchlejšie a ľahšie upchatie.
  • Zaústenie chrliča alebo núdzového priepadu by malo byť riešené tak, aby znížilo riziko znečistenia alebo zavlhnutia fasády. V mieste bezpečnostných priepadov stojí za zváženie výber odolnejšieho povrchu fasády.
  • Problémy na fasáde môžu spôsobiť balkónové a lodžiové chrliče rovnakej dĺžky, navrhnuté v jednej línii nad sebou (znečistená voda padá na nižšie chrliče a špliecha na okolitú fasádu).

 

  • Pri veľkoplošných strechách sa osvedčuje kombinácia bezpečnostných strešných vtokov (umiestnených nad úrovňou základných vtokov) a bezpečnostných priepadov v atike (umiestnených nad úrovňou bezpečnostných vtokov).
Vlastná schéma - kombinácia bezpečnostných strešných vtokov a bezpečnostných priepadov v atike
Vlastná schéma - kombinácia bezpečnostných strešných vtokov a bezpečnostných priepadov v atikePeter Marčok

 

Preklad európskej normy EN 12056-3 do českého jazyka ponúka neštandardné pomenovanie, ktoré bolo v príspevku nahradené nasledovne:

  • výtok = vtok
  • přeliv = prepad / priepad
  • plochá střecha s římsami = plochá strecha s atikou
  • nouzové výtoky = núdzové odvodnenie / núdzový vtok

 

2.6.2024

Peter Marčok

Vložené
2. jún 2024
0
1689
Hlavný obsahHlavný obsah
Čakajte prosím